新聞中心
產品中心
聯系我們
深圳市東么川伺服控制技術有限公司
電話:13316379101
郵箱:1355229533@qq.com
地址:深圳市龍華區民治街道樟坑社區青創城A棟B502
深圳無刷電機BLDC方波驅動的方案
發布時間:2020-07-02 07:22:41
文中主要詳細介紹BLDC電機方波驅動器方法,它是依據轉子的部位給相匹配的繞組接電源,在每一個時刻只給電機定子繞組中的兩互通電,那樣每相繞組通斷120電角度。在一個電角度(360度)周期時間可完成六種不一樣的鼓勵組成,因此被稱作波形
驅動器或六步換相操縱。

六步換相驅動器是一種三相Y型聯接BLDC電機的常見方式 。在六步換看中,BLDC電機選用兩相工作模式,隨意時刻僅有兩相導通,另一相斷掉。到底挑選哪兩相繞組通斷是由轉子的部位決策,轉子部位的傳感可由相位傳感器或部位觀測器得到既有感應器波形驅動器和無感應器波形驅動器。
(1)根據霍爾傳感器(120度遍布)操縱的六步換相基本原理

紅色繞組:A相 綠色繞組:B相 藍色繞組:C
HallA、HallB、HallC是三個霍爾傳感器,安裝在電機不一樣的部位,用于檢驗相對性于三個繞組(A/B/C)的轉子部位。在電機運行全過程中,當順向的磁感線越過霍爾傳感器,感應器輸出“1”,相反,輸出“0”。因為3個霍爾傳感器勻稱安裝在360度電角度,當電機運行一個電氣設備周期時間(360)時,每一個霍爾傳感器的脈沖信號會產生2次旋轉,一共產生6次脈沖信號旋轉,因為感應器是分布均勻的,因此每一次旋轉恰好相距60度電角度,這更是電機2次換相相距的電角度。根據持續載入霍爾傳感器不一樣的脈沖信號旋轉時刻,隨后給相對的繞組接電源,電機就可以穩定的運行起來。
下列是電機順時針調速表

(2)無感應器操縱的六步換相基本原理

鮮紅色:A相BEMF翠綠色:B相BEMF深藍色:C相BEMF
如圖所顯示在每一個區段(60度電氣設備角度)內對未接電源相繞組上的自感電動勢工作電壓開展檢驗。當自感電動勢工作電壓歷經“圓心”或“過零點”時,即檢驗到過零點產生。控制系統得知轉子這時坐落于60度電氣設備角度區段的圓心且間距下一次換相也有三十度電氣設備角度。計時器紀錄每一個區段(60度電氣設備角度)的時間為T60。當檢驗到過零點時,計時器將裝車一個標值為T60的一半的預設值。計時器產生請求超時,將造成終斷并完成下一次換相。此類控制措施稱之為BLDC電機的無感應器操縱。
針對BLDC電機的無相位傳感器操縱,有多種多樣方式 來檢驗轉子的部位。比如,BEMF測定法、磁通量測定法、各種各樣系統軟件數據信號觀測器法、數據信號引入法等。現階段應用的比較多的是BEMF法即根據檢驗斷掉相的自感電動勢過零點來完成換相,別的的無相位傳感器控制措施會在事后的章節目錄中探討。
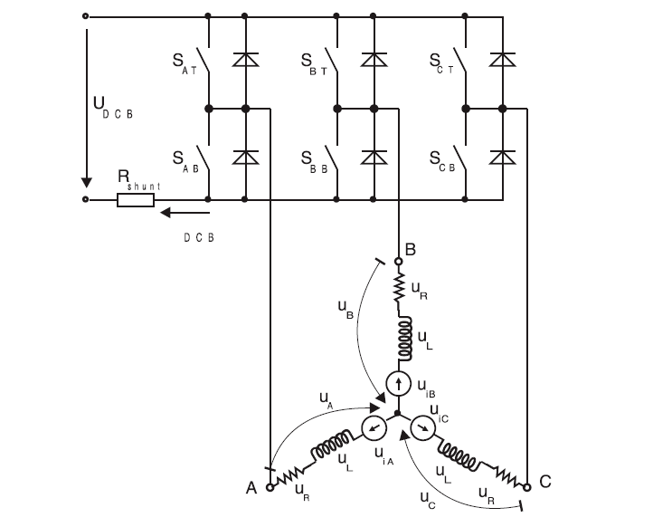
下表展現了直流電無刷電機電機三相橋驅動器(如圖所示1),每一個電氣設備周期時間(360度)里六步換相所相匹配的電源開關情況和電流的方向與轉子部位的關聯。

- 上一篇:交流電機與直流電機到底有什么不同?
- 下一篇:深圳無刷電機中的霍爾開關的作用
產品推薦:兩相步進電機
產品推薦:無刷電機
產品推薦:兩相步進驅動器
產品推薦:直流無刷驅動器




























地址 ADDRESS